启用车队管理云服务,释放风控能量
在客运及公交企业安全营运中,安全最大的隐患在于驾驶员驾驶行为良莠不一,并且在长时间连续行车后,产生生理机能和心理机能的失调,而在客观上出现驾驶技能下降的现象。
宁波公交总公司共有近5000辆公交车、200辆商旅大巴,“向风险要效益”是宁波公交公司的目标。2018年,成为智能交通开始为宁波公交提供基于风险管控的车队管理云服务,通过车载智能终端识别驾驶员抽烟、打电话、疲劳驾驶、注意力分散、急减速、急加速、急转弯等危险驾驶行为,一方面通过车载设备及时提醒,实现对于驾驶员的安全辅助驾驶;另一方面,深度分析风险行为,建立驾驶员驾驶风险档案,在此基础上建立风险识别与管控模型,实现车队安全管理事前可预防、事中可控制、事后可追溯,在保障宁波公交安全营运的基础上最大限度的提高经济效益。
宁波公交车队管理挑战
1. 公交及客运为面向社会服务型企业,驾驶员需保持良好的工作状态和素质,对驾驶员在驾驶过程中的违规操作,需要进行严格监管。
2. 安全为公交及客运行业重中之重,传统的安全管理无法有效的提升驾驶员的安全意识,需要通过车队管理云平台,获取车辆平时驾驶风险,让车队长有针对性的对驾驶员进行安全教育。
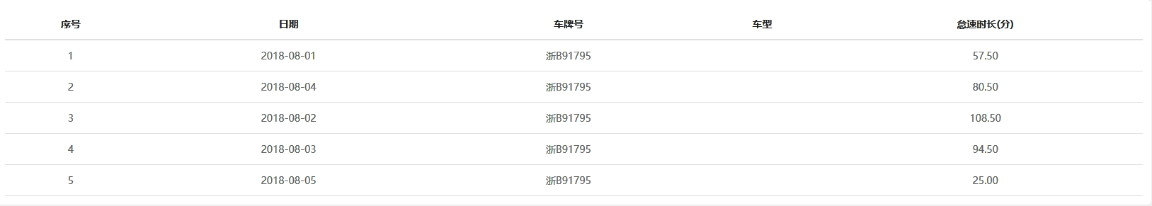
3. 运营成本过高,无法精确掌握每辆车的出勤效率,发现车辆的怠速时长普遍较高,需通过信息化手段,完成数据统计和分析,进行指向性管理。
在保障安全营运的基础上 最大限度提高经济效益
1. 驾驶人员行为规范管理
通过视频分析,捕捉驾驶员车上抽烟、接打电话、疲劳驾驶、注意力分散的情况,提醒并记录违规行为的详细信息,包括车辆信息,事件触发事件,位置,车速信息等。可结合该车辆的连续运行时长、休眠时长等详细运行统计数据,进行违规操作判定。

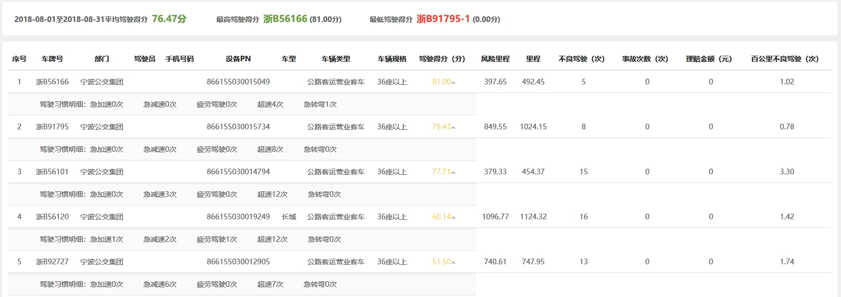
2. 车队风险宏观把控
通过车队管理云平台,获取每月车队、车辆的安全评级,包括对于上个月的安全风险变化,百公里不良驾驶行为数据。


3. 事后秒点数据分析管理
使用车联网最为核心的技术,秒点数据记录。一旦检测到车辆侧翻或碰撞,立刻上报到平台监控中心,并且可调取事故点前后每秒数据,协助企业进行分析原因事由。
例:(成为公司系统中服务的车队客户:宁波**医院救护车队)
事故车辆:浙B9xxx — 于2018年7月26日发生一起重大事故
7月26日事故:浙B9xxx出象山高速主路后,进入辅道时车辆侧翻,车身损毁严重。
伤者伤势描述:救护车上两名患者重伤,驾驶员重伤评定为十级伤残,其他四人轻伤。
导出秒点数据进行事故还原:

车辆正常从80km/h减速到0km/h,安全距离至少为500米,安全减速时间至少为20秒。秒点数据中反馈出速度从80km/h减速到0km/h。只用了6秒。说明驾驶员已经出现驾驶时走神的情况。系统导出该驾驶员7月份不良驾驶行为共212次,驾驶得分37分,其中急转弯近160次。
结合事故点位置信息,及秒点数据得出结论:该驾驶员在驶出高速主路,进入辅道时,速度依然为80km/h!平常开车安全意识不足!
4. 运营成本管理
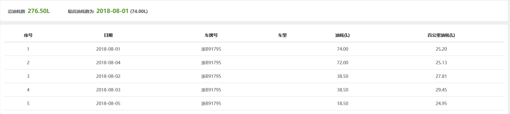
油耗数据管理:根据车龄,车型,驾驶行为,载重量获取到实际的耗油量数据。

精准里程管理:使用了里程统计的核心算法,通过定位数据与实际道路地图匹配数据进行互相弥补,得到实际驾驶的精准里程数据。
运行时长管理:详细统计车辆每天的运行时长数据,休眠时长数据,方便企业的对用车效率进行管理。
怠速时长管理:通过怠速时长统计,提供管理依据,督促驾驶员严格控制车辆怠速时长,降低车辆的油耗及发动机的损耗。
5. 定制化数据报表
根据宁波公交需求,制定数据报表,量化管理驾驶员,为企业人员监管、安全培训提供数据支持。
杜绝严重违规驾驶操作,事故率降低50%
运营成本下降:通过详细数据比对,驾驶员量化管理等手段,试行三个月,单车运营成本降低10%。
驾驶服务规范:通过疲劳驾驶监控、实时提醒,完全杜绝了驾驶人员开车时,抽烟接打电话的违规情况。运行期间相对于上一年,事故率降低50%。